来源 信息平权
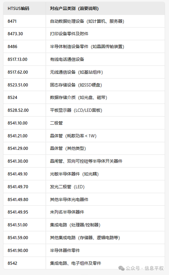
1. 具体表格如下。总之大家最关心的英伟达、苹果产业链基本都在豁免类目。最早我们在社群讨论过立讯那个电话会后的花旗报告,管理层的确没明确说,但暗示了有豁免的可能。当时很多人不信,结果...

2. 说明什么?上午消息美国海关申报系统出现故障。我们之前那篇文章写过了,美国海关这效率,完全落地基本不可能,即便最后只剩中国,难度也极大。一线不具备执行能力的情况下,就强行推动广泛加征关税,那后果只能是大量货物在海关排队,等着靠如今这点人员和系统慢吞吞的核对税率再放行,进而美国国内商品流通也大幅延期,供应链会如同疫情那样全面瘫痪。别提制造业回流了,已有的工厂都得关门大吉。
基于上述原因我们当时觉得会暂缓。现在对中国的豁免也来了,之后呢?豁免目录大概率还会继续增加。这场关税战大概率沦为笑话。甚至都还没提转口贸易。最后美国会发现,本来想提高的关税,要么被转口等其他流通环节吃掉,要么传导通胀被美国企业消费者吃掉,要么就减少贸易没有了税基。最后还增加什么关税收入...
3. 以及更尴尬的是,中国海关的执行效率不知道是美国的多少倍...最后的结果很可能是,中国这边反而实实在在得加了关税...为什么?因为我们的确有可替代的国产供应链啊!得益于7年前对我们的“友好提示”,储备了7年的国产替代,我们有些东西是真能替代啊...美国什么时候准备过CN的国产替代?
就比如上周的模拟,过去几年国内analog厂商已经取得了长足进步,除了极个别高端型号(BMS模拟前端等),其他基本完全可以国产化。反而是TI凭借12寸线成本降维打击,这算不算美国经常职责中国的“倾销”手段?谁也不比谁高尚。
因此这事儿到最后,美国离不开CN,CN反倒储备了7年的国产替代派上了用场。
最后到底谁在跟谁打关税战?
(完)



发表评论
2025-04-12 23:42:34回复
2025-04-13 01:12:02回复